Reserve my Lounger
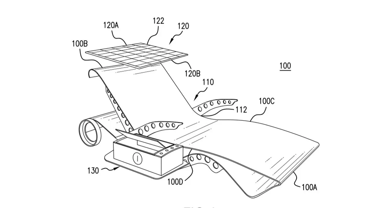
Reserve My Lounger represents a State-of-the-art and time-saving solution designed for vacationers who want to ensure their beach or poolside lounger is reserved and waiting for their arrival. This lounger is equipped with a SmartSafe that serves a dual purpose. Families seeking a technology break can securely store their phones in the safe, only gaining access after their beach or pool activities are complete. Meanwhile, those who wish to stay connected can utilize a built-in solar panel to charge their devices while safeguarding their valuables. The Reserve My Lounger app has options for reserving the time slot of the pool or beach lounger, booking sports activities, ordering food and drinks, and paying for services.
Learn More
-

Basic
What should we know about the services you provide? Better descriptions result in more sales.
-

Intermediate
What should we know about the services you provide? Better descriptions result in more sales.
-

Advanced
What should we know about the services you provide? Better descriptions result in more sales.
-

New List Item
Description goes here