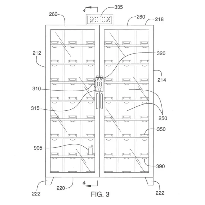
The Smartphone Storage locker is ideal for retail locations. Customers can securely store and charge their smartphones in designated slots, with added disinfection via UV lighting. The locker is also multifunctional. In schools, students will lock away their phones in assigned slots to have teachers’ full attention and maximize their learning. A few minutes before the school break ends, the locker will send a text warning that their phone will be deactivated unless it’s placed back in the locker. In an office setting, employees will be more productive in maximizing the company’s profits if their smartphones are locked away, and they are not distracted by private matters. Click here to view the brochure.

View Brochure

Smart Phone Storage Locker